Co dělat, když je vodní čerpadlo Xiaomi Smart Pet Fountain ucpané?

*Tato stránka je automaticky přeložena z anglických článků
Hromadění chlupů, pronikání nečistot a prachu a občasné čištění mohou všechny vést k ucpání vodního čerpadla v Xiaomi Smart Pet Fountain. Prosím, pravidelně čistíte vodní čerpadlo, abyste zajistili správnou funkci zařízení.
Pro čištění vodního čerpadla Xiaomi Smart Pet Fountain prosím postupujte podle následujících kroků:
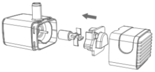
1. Zvedněte kryt zásobníku vody a vyjměte vodní čerpadlo.
2. Sundat filtrační houbičku vodního čerpadla a kryt filtru vodního čerpadla.
3. Sundat druhý kryt filtru vodního čerpadla.
4. Odstraňte lopatky magnetického zavěšení ventilátoru.
5. Vyčistit filtrační houbu vodního čerpadla, kryt filtru vodního čerpadla, kryt druhé vrstvy filtru vodního čerpadla, magnetickou závěsnou lopatku ventilátoru, hlavní tělo vodního čerpadla a další drobné díly.
6. Instalujte v pořadí.